11年專業銷售工程師-徐工
15年專業銷售工程師-謝工
9年專業銷售工程師-王工
6年銷售工程師-張工
項目產品選型、技術指導高級電器工程師-李工
| 分類 | |
| 品牌 |
| 分類 | |
| 品牌 |
| 分類 | |
| 品牌 |
| 分類 |
|
| 品牌 |
|
優勢一:廣州南創是一家大型傳感器、儀器儀表、工業備品備件供應商!中國傳感器聯合會誠信“AAA”級成員,多家世界知名傳感企業中國市場開拓核心合作伙伴;
優勢二:完善的全國銷售服務網絡:12個區域辦事處、20個分公司、遍布全國的售后服務網點,為您及時便捷實現上門無憂售后服務;
優勢三:為國內多家知名大中型工業企業、航天工業企業提供國際工業自動化控制檢測設備及工業稱重系統和傳感器設備儀表,緊密依托中科院及清華大學的技術支持合作交流。技術、產品可靠值得信賴;
優勢四:鄭重承諾:三個月內產品有質量問題無條件退換貨;
優勢五:資深工程師為您提供全方位完善的一條龍銷售服務指導,售前專業方案設計、產品選型指導,售中安裝調試,售后三年上門免費跟蹤維修服務;
優勢六:全國優勢價格支持銷售,凡在我們公司購買產品,如果同類產品高于主流市場價格,我們雙倍補還差價,性價比高!
優勢七:我公司在國外設有7個境外專業采購中心,保證原裝進口,貨期快捷,價格具有優勢,可靠、放心
優勢八:我公司代理經銷169個品牌,全國同類產品系列全、品種多、多家知名企業中國合作伙伴代理。
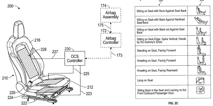
安全氣囊主要由安全氣囊傳感器、防撞安全氣囊及電子控制裝置等組成,當發生碰撞時,安全氣囊傳感器接收撞擊信號,達到規定的強度,傳感器發出信號,如果達到氣囊展開條件,則由驅動電路向氣囊組件中的氣體發生器送去起動信號產生氣體,使氣囊在極短的時間內突破襯墊迅速展開,在駕駛員或乘員的前部形成彈性氣墊,并及時泄漏、收縮,吸收沖擊能量,從而有效地保護人體頭部和胸部。
據外媒報道,根據特斯拉一份新專利申請,特斯拉目前正在研究一種新方法,可根據體重對乘員進行分類,以便在其車輛上部署更安全的安全氣囊。特斯拉該項專利名為“汽車乘員分類系統和方法傳感器”,于本周早些時候公開,表明了該公司正在改進部署其安全氣囊。

特斯拉解釋了目前根據乘員部署安全氣囊存在的問題:“車輛行駛過程中,通過采用自動化系統監控車輛操作,并在需要時提供相應的警報和協助,使得車輛變得越來越安全。但是,檢測出車輛乘員的存在并且準確地將其分類為兒童、較小體型成年人或是其他類別,特別是在區分類別時仍然存在困難。當車輛試圖協助或是實時安全措施保護車輛乘員時,準確的分類至關重要。”
特斯拉的解決方案是推出一個系統,該系統可通過座椅上的傳感器探測乘員,然后根據乘員體重對乘員進行分類。特斯拉表示,傳感器設置的方式使其還能夠探測乘員坐在座位上的方式,促使該公司改變安全氣囊的部署方式。
特斯拉一直強調車輛安全性,而且多年來一直致力于此,其車輛也獲得了最高安全評級。最近,美國國家公路交通安全管理局(NHTSA)公布了Model 3車型的碰撞測試結果,該車是該機構碰撞測試中毀壞程度最低的車型。
本站內容未經許可禁止復制轉載!©2002 廣州南創電子科技有限公司
聯系電話:020-82303306 公司傳真:020-82303511下班及雙休日請撥打各品牌負責人電話電話詳情
備案號: 粵ICP備11086172號-1